-
飞力环保污水污泥杂质回流泵QJB
详细信息| 询价留言品牌:飞力环保 材质:不锈钢 性能:不阻塞 原理:混合回流泵 泵轴位置:卧式 叶轮吸入方式:单吸式 叶轮结构:单吸式 叶轮数目:3 型号:QJB 回流泵是引用了国外的生产技术的基础上开发的一种新的产品,QJB-W回流泵是二级污水处理厂混合液回流,反硝化脱氮的专用设备。可以用于地面排水时抽净化水,灌溉和控制水道系统,废水处理过程中再循环或者泥浆抽吸回路中需要微扬程、大流量场所
回流泵的特点:
1、微扬程、大流量,效率高;
2、防止堵塞、缠绕设计,使用可靠;
3、采用密封材料,可以安全连续运行10000小时以上;
4、结构紧凑,安装维护方便;
5、主机采用冲压成形结构,体积小,精度高,耐腐蚀无噪音;
6设置漏电漏水及电机过载等保护报警装置,确保产品安全可靠。
设备安装:
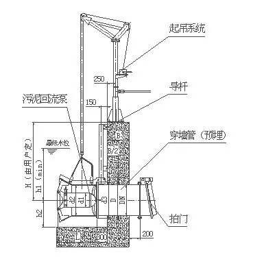
- 回流泵采用自动耦合安装系统,无需其他机械拆卸便可迅速提升泵进行检查,方便快捷
- 回流泵除穿墙管需要预埋之外,吊杆,起吊杆打膨胀螺栓与墙体连接,无需预埋线
- 正确的安装使用才可以使设备使用寿命长久
- 安装前需要有一名合格的电工检查电机、电器并且按照设备箭头确定好转动方向
- 池底应平整无障碍物,池内无杂物
- 若长时间不运行,重新启动检查的时候要防止污泥淤积而造成设备损害
- 封闭池内安装需要考虑到回流泵整机的出口安装尺寸
-
-
产品搜索
联系方式
- 联系人:余经理
- 电 话:15851820478
- 手 机:15851820478
- 地 址:江苏省南京市六合区横梁街道新簧工业园三美路2号
- 网 址: https://njfl1014.cn.goepe.com/
http://www.fljbj.cn








